注册制主板IPO新申报首日,华龙证券、华宝证券获“压线”受理? 已有6家券商进入注册制主板排队审核序列

Connor usdt钱包 2023-05-30 297 0

每经记者:王海慜 每经编辑:叶峰

根据安排,2023年3月4日起,沪深交所开始接收注册制下主板新申报企业提交的相关申请华龙证券

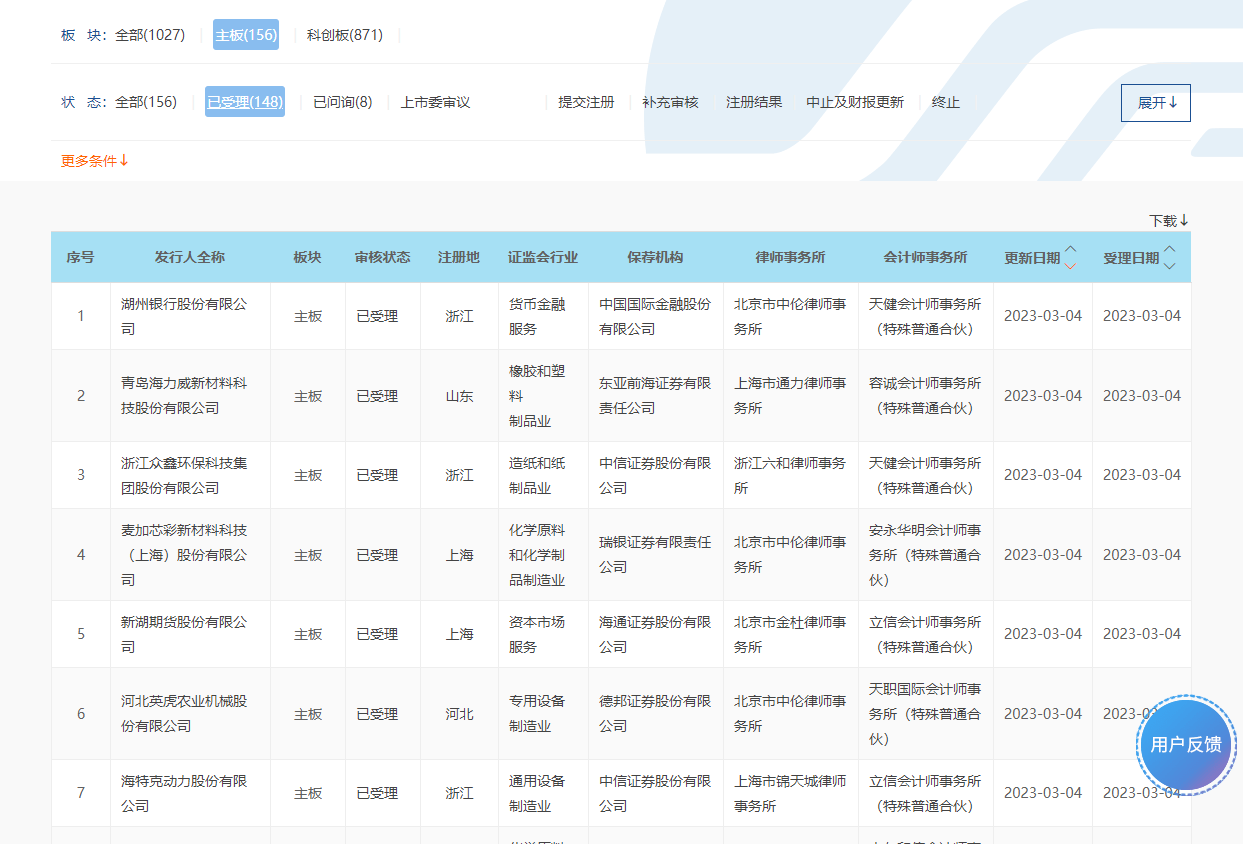
截至18点,上交所官网显示,今天共有27家主板IPO企业获得受理华龙证券。在这27家企业中,包括了华龙证券、华宝证券2家券商。在业内人士看来,这两家券商应该是昨天已提交上市申请,交易所加班受理,所以其上市申请接收的时间应该以提交日算。

截至目前,进入注册制主板排队审核序列的券商已有6家,其中华龙证券的拟募资额最高,达49.39亿元华龙证券。而华宝证券目前行业排名相对靠后,但是自2021年以来公司多项风控指标都有向预警线快速靠近的趋势,这或许也是公司急于通过IPO补充资本的主要原因之一。

两家券商获“压线”受理华龙证券

根据之前交易所的安排,在此前10个工作日的平移期过后,自3月4日起,沪深交所开始接收注册制下主板新申报企业提交的相关申请华龙证券

注册制主板IPO新申报首日<strong></p>
<p>华龙证券</strong>,华龙证券、华宝证券获“压线”受理? 已有6家券商进入注册制主板排队审核序列

上交所官网发行上市审核页面

上交所官网显示,截至18点,今天共有27家主板IPO企业获得受理华龙证券。在这27家中包括了2家券商华龙证券、华宝证券。

而在之前10个工作日内,开源证券、东莞证券、渤海证券、财信证券4家券商的IPO申请已经率先完成了在沪深交易所的平移工作华龙证券

那么华龙证券,之后在注册制主板审核时,今天起新申报的企业在审核进度上是否会慢于之前10个工作日内完成平移的企业呢?

对此,某头部券商保代向记者表示,“大体上是这样的,审核按受理时间排序,但后面受理的好公司在审核进度上会超过前面质地相对较差的公司华龙证券。”

另外,在资深投行人士王骥跃看来,虽然从今天起交易所接收的主板新申报企业在审核进度上会比之前10个工作日完成平移的企业要慢一些,但今天新受理的华龙证券、华宝证券应该还是按照之前的排队昨天已经提交上市申请,交易所加班受理,所以这两家公司上市申请接收的时间应该以提交日算华龙证券。后面可能还有个别公司因为有补正而晚一两天获受理。

展开全文

华宝证券多项风控指标快速靠近预警线

注册制主板IPO新申报首日<strong></p>
<p>华龙证券</strong>,华龙证券、华宝证券获“压线”受理? 已有6家券商进入注册制主板排队审核序列

注册制主板IPO新申报首日<strong></p>
<p>华龙证券</strong>,华龙证券、华宝证券获“压线”受理? 已有6家券商进入注册制主板排队审核序列

截图自:上交所官网

从募资计划来看,华龙证券、华宝证券、开源证券、东莞证券、渤海证券、财信证券6家券商IPO的拟募资额分别为49.39亿元、20亿元、40亿元、30.95亿元、27.26亿元、20亿元华龙证券

从今日披露的华龙证券招股说明书来看,公司本次公开发行股票数量不超过20亿股,占本次发行后公司总股本的比例不超过24%华龙证券

根据中国证券业协会公布的《证券公司2021年经营业绩指标排名情况》来看,2021年,华龙证券这各项主要指标位于行业中游华龙证券。具体而言,公司总资产位于行业第63名,净资产位于行业第44名,净资本位于行业第46名,营业收入位于行业第60名,净利润位于行业第51名。

值得注意的是,华龙证券目前对经纪业务的依赖度依然较高华龙证券。据招股书披露,证券经纪业务是华龙证券收入贡献最高的业务板块。报告期各期(2019年、2020年、2021年、2022年上半年),华龙证券证券经纪业务分部收入占公司营业收入的比例分别为21.02%、31.61%、33.92%和 43.04%。其他收入占比较高的业务为自营业务、信用交易业务。

就此次IPO,华龙证券表示,本次发行所得的募集资金在扣除发行费用后将全部用于增加公司资本金,补充公司营运资金,用于公司各项业务的发展华龙证券

从今日披露的华宝证券招股说明书来看,公司本次公开发行股票数量不超过13.3亿股,占本次发行后公司总股本的比例不超过25%华龙证券

和大多数小券商类似的是,华宝证券目前主要的收入来源分别为经纪业务和自营业务华龙证券

值得注意的是,目前华宝证券的利润规模仍较小华龙证券。2021年公司的净利润仅为1.6亿元,在行业内排名78位,较2020年下滑了7位。这一利润规模要小于上述其他5家排队券商。2022年上半年公司的净利润也仅为0.69亿元。

据了解,在IPO审核过程中业绩是非常重要的因素之一华龙证券。某券商统计,2021年IPO被否企业被问询的问题排名前两类的都与业绩有关,分别为持续经营/盈利能力问题、业绩真实性问题。

注册制主板IPO新申报首日<strong></p>
<p>华龙证券</strong>,华龙证券、华宝证券获“压线”受理? 已有6家券商进入注册制主板排队审核序列

截图自:华宝证券招股说明书

不过虽然华宝证券目前的业绩体量较小,但是自2021年以来公司多项风控指标,如资本杠杆率、净稳定资金率、自营权益类证券及其衍生品/净资本等都有向预警线快速靠近的趋势,这或许也是华宝证券急于IPO的主要原因之一华龙证券

每日经济新闻

评论